汽车电子组件认证标准根据国家或地区的不同,测试标准可能也随之不同,可能采用国家标准,也可能采用国际标准,也可能采用汽车企业标准。为了汽车组件产品更好的复合各地区的要求,我们将对不同静电放电标准进行比较分析。

静电放电标准主要由国际标准,IEC61000-4-2,ISO 10605和各汽车企业标准组成。
表1 静电放电测试标准
|
汽车车厂商 |
测试标准 |
引用标准 |
|
通用 |
GWM 3097 |
ISO 10605 |
|
大众 |
TL82466-2005 |
ISO 10605;IEC61000-4-2 |
|
中国一汽 |
Q-FC-CC06-001 |
ISO 10605 |
|
名爵 |
MGR-62-21-627 |
ISO 10605 |
|
福特 |
ES-XW7T-1A278-AC |
ISO 10605 |
|
雪铁龙 |
B21-7110 |
ISO 10605 |
|
克莱斯勒 |
DC-11224 |
ISO 10605;IEC61000-4-2 |
|
宝马 |
BMWGS95002 |
ISO 10605 |
注:从表中可以看出,国际标准一直是企业或实验室追随的标准,都在其基础上进行修改,大众和克莱斯勒参考了ISO10605和IEC61000-4-2标准。
静电放电原理
静电是通过两个物体之间因摩擦而不能转移,这些积累的电荷就产生了静电,静电放电可以通过传导和辐射两种方式对电子元件、PCB干扰,影响系统工作,静电放电基本上分为2种模型,1.各种电子设备带电引起的静电;2.人体电荷引起的静电,而汽车组件的基础标准,产品标准和汽车企业标准主要是依据人体模型进行模拟静电放电的。下图是人体模型的原理图,其中电阻代表人体电阻,电容C是代表人体的电容。
试验方法及测试布置
1试验环境要求
表2 环境要求
|
标准 |
温度 |
湿度 |
|
IEC610004-2 |
15℃~30℃ |
30%~60% |
|
ISO 10605 |
(25±10)℃(首选20℃) |
20%~60%(首选30%) |
|
GWM 3097-2012 |
(23±3)℃ (首选20℃) |
20%-40% (首选30%) |
|
TL82466-2005 |
(25±10)℃(首选20℃) |
20%~60%(首选30%) |
|
Q-FC-CC06-001-2013 |
(23±5)℃ |
20%~60% |
|
MGR-62-21-627 |
(25±10)℃ |
20%~60% |
|
ES-XW7T-1A278-AC |
(23 ±3) ℃ (首选20℃) |
20%~40% (首选30%) |
|
B21-7110 |
15℃~35℃(优选20℃) |
20%~60%(优选30%) |
|
DC-11224 |
/ |
/ |
|
BMWGS95002-2010 |
/ |
/ |
注:我们通过静电放电原理可知, 静电与环境有很大关系,通常温度越低,湿度越低,越容易产生静电,上表中可看出,每个车企业的要求接近于产品标准,要比基础标准要求严格,对于克莱斯勒和宝马企标里并没有明确说明温湿度要求,但是根据标准的追溯原则,需要向上级追溯,所以还是以ISO 10605要求为准。
2、静电发生器输出特性的要求
ISO 10605:2008标准中规定了接触放电电流波形,给出校验波形的上.升沿和电流峰值而且还给出校验t1和t2处(不同的RC组合有不一样的t1和t2)的电流值,见表3。
表3 接触放电模式的电流特性
|
放电网络类型 |
峰值电流/充电电压A/kV |
允差 % |
在t1 时的电流/充电电压A/kV |
允差 % |
在t2 时的电流/充电电压A/kV |
允差 % |
|
150 pF / 330 Ω |
3.75 |
±10 |
2 (t1 = 30ns) |
±30 |
1 (t2 = 60 ns) |
±30 |
|
330 pF / 330 Ω |
3.75 |
±10 |
2 (t1= 65ns) |
±30 |
1 (t2 = 130ns) |
±30 |
|
150 pF / 2000 Ω |
3.75 |
+30,0 |
0.275 (t1=180 ns) |
±30 |
0.15 (t2=360 ns) |
±50 |
|
330 pF / 2000 Ω |
3.75 |
+30,0 |
0.275 (t1= 400 ns) |
±30 |
0.15 (t2=800 ns) |
±50 |

图中:X 时间,ns ;Y 电流,A
1:330pF/330Ω
2:150pF/330Ω
图1 150pF/330Ω、330pF/330Ω在5kV 电压下的放电波形

图中:X 时间,ns ;Y 电流,A
1:330pF/2000Ω
2:150pF/2000Ω
图2 150pF/2000Ω、330pF/2000Ω在5kV电压下的放电波形
表4 放电网络参数比较
|
标准 |
模块试验 |
敏感度分类试验 |
|
IEC61000-4-2 |
150pF/330Ω |
150pF/330Ω |
|
ISO 10605 |
150pF/330Ω;330pF/330Ω 150pF/2000Ω;330pF/2000Ω |
150pF/330Ω;330pF/330Ω 150pF/2000Ω;330pF/2000Ω |
|
GWM 3097 |
150pF/2000Ω;330pF/2000Ω |
150pF/2000Ω |
|
TL82466-2005 |
330pF/330Ω |
150pF/330Ω |
|
Q-FC-CC06-001 |
150pF/330Ω |
330pF/330Ω |
|
MGR-62-21-627 |
330pF/2000Ω |
150pF/2000Ω |
|
ES-XW7T-1A278-AC |
150pF/2000Ω;330pF/2000Ω |
150pF/2000Ω |
|
B21-7110 |
330pF/2000Ω |
150pF/330Ω |
|
DC-11224 |
没有要求 |
150pF/330Ω; 330pF/330Ω |
|
BMWGS95002 |
150pF/330Ω |
150pF/330Ω |
注:2kΩ电阻的试验代表人体直接通过皮肤放电。而用330Ω电阻的试验代表人体通过金属部件,例如工具、钥匙和戒指等的放电。用330Ω电阻的试验要比用2kΩ电阻的试验来得严格,在相同电阻情况下,电容越大,试验越严格。
3、试验方式
对于ISO 10605:2008规定,放电有接触放电和空气放电两种,测试时优选接触放电,对于缝隙和放电头不能接触到的地方,则选择空气放电,各汽车企业标准也等同于此标准。
对于IEC6100-4-2规定,放电有接触放电,空气放电和间接放电,对于引用此标准的汽车企业还要进行间接放电,例如,大众,克莱斯勒。
4、测试布置
结合ISO 10605:2008标准和企业标准,其标准都有电子组件测试和为包装搬运规定的电子组件敏感度分类试验,对于整车静电放电测试,部分车厂是要求的,这里主要对电子组件进行分析比较。
4.1、电子组件(带电状态)
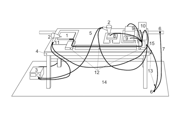
根据ISO 10605:2008标准布置要求,水平耦合板通过两个470 kΩ电阻(图3中13所示)与地参考平面相连,将电池的负极接到水平耦合板上,被测物置于水平耦合板上(50 ± 5)mm并离开水平耦合板(HCP)的边为0.1m, 静电放电发生器的接地回路至少远离被测物20cm。

图3对带电组件进行静电放电试验的配置
备注:图中,1 被试设备 2 静电放电发生器 3 静电放电发生器的电源 4 非导电性桌子5 水平耦合板(HCP) 6 接地点 7 地线连接 8 被试设备的遥控部件9 外部设备 10 电池 11 绝缘支撑(如有需求) 12 绝缘块13 470kΩ电阻 14 地参考平面(GRP,选件) 15 水平耦合板(HCP)接地
注: 汽车厂商的标准参考了ISO 10605,IEC 61000-4-2 标准,但是有的厂商会根据自己的要求做了细微的调整,比如,接地电阻,因为放电的释放也会根据接地电阻影响,雪铁龙,福特企标要求是1MΩ,克莱斯勒企标并没有要求测试带电模式。
4.2 电子组件(不带电状态)
ISO10605:2008标准要求静电放电的试验表面与其他导电性结构(如屏蔽室的导电面)的最小距离是0.1m。放电试验时,被测物置于50mm的绝缘衬垫上,发生器的放电返回电缆应距离被试设备至少0.2m ,静电荷聚集可以通过快速连接泄放线具有高电阻(1MΩ)中被消除,见图4配置。

图4对不带带电组件进行静电放电试验的配置
备注:图中,1 被试设备 2 静电放电发生器 3 静电放电发生器的电源 4 非导电性桌子 5 水平耦合板(HCP) 6 接地点 7 地线连接 8 消静电的垫子
注:汽车厂商的标准主要参考了ISO 10605的不带电组件测试布置,但是大众,克莱斯勒汽车直接参考的IEC61000-4-2 测试布置,及测试方法,对于包装搬运规定的电子组件敏感度分类试验在进行模式放电时,主要根据人体模型,所以大众参考IEC61000-4-2标准是比较符合现场情况的,从表4可看出放电网络150pF/330Ω放电能量要高与150pF/2000Ω,而不同的是克莱斯勒标准还要求进行场耦合测试。
5 试验等级
参考ISO 10605附录C要求,接触放电 2 kV ~15 kV。空气放电2 kV ~25 kV。
IEC61000-4-2 要求,接触放电 2 kV ~8 kV,空气放电2 kV ~15 kV并规定开放等级
汽车企业标准都是在这个标准的基础上进行试验,但是最高是25KV。
6 试验判据
ISO 10605 标准附录C规定了四种失效判定依据,要求在每个测试等级完成后,都要对被测物进行评估,而汽车企业标准都会根据测试等级给出相应的判定级别。
长沙容测电子有限公司致力于电磁兼容测试设备的研发以及电磁兼容测试技术的推广普及,全力为客户提供专业的EMC测试产品和解决方案。
我们的产品:
民用领域:静电放电发生器、脉冲群发生器、雷击浪涌测试仪、射频传导抗干扰测试系统、工频磁场发生器、脉冲磁场发生器、阻尼振荡磁场发生器、交流电压跌落发生器、振铃波发生器、共模传导抗扰度测试系统、阻尼振荡波发生器、直流电压跌落发生器等
汽车领域:静电放电发生器、7637测试系统、汽车电子可编程电源、瞬态发射开关测量、汽车线束微中断发生器、BCI大电流注入测试系统、EMI接收机、辐射抗扰度测试系统、低频磁场抗扰度测试系统、射频辐射抗扰度测试系统等
军工领域:静电放电发生器、低频传导抗扰度测试系统、尖峰脉冲发生器、电缆束注入测试系统、快速方波测试系统、高速阻尼振荡测试系统等
